 
Hyundai, Amerika Birleşik Devletleri Patent ve Marka Ofisi’ne yaptığı yeni bir patent başvurusu ile elektrikli araçların sürüş esnasında şarj edilmelerine olanak tanıyacak çarpıcı bir teknoloji üzerinde çalıştığını gözler önüne serdi. Bu teknoloji, genellikle “kablosuz dinamik şarj” olarak tanımlanıyor ve yol yüzeyinin altına yerleştirilmiş elektromanyetik bobinlerden enerji çekmek için aracın altına özel bir şarj plakası entegre ediliyor.
Şu an için Michigan, Detroit’teki 14. Cadde ve Japonya ile Norveç’teki çeşitli pilot projelerde bu tür dinamik şarj uygulamaları test ediliyor. Ancak, dinamik şarj sisteminin önünde bazı zorluklar bulunuyor. Bu zorluklar arasında yüksek maliyetler ve, araçtaki kablosuz şarj alıcısı ile yol yüzeyinin altına yerleştirilen bobinler arasında doğru mesafeyi sağlamak için yol yüzeyinin pürüzsüz ve çukursuz olması gerekliliği öne çıkıyor.
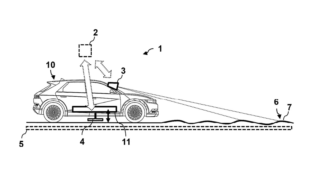
CarBuzz’un haberine göre, Hyundai’nin patent başvurusu, hareket halindeyken kendini ayarlayarak yükselip alçalan bir “yüksekliği ayarlanabilir endüktif güç aktarım kuplörü” içeriyor. Bu özellik, araç ile yol yüzeyi arasındaki mesafeyi mükemmel bir şekilde ayarlayarak, kesintisiz bir şarj deneyimi sunmayı amaçlıyor.
Patentin bir diğer ilginç yönü ise, Hyundai’nin yüksek çözünürlüklü kamera teknolojisinden yararlanması. Bu teknoloji, genellikle Mercedes-Benz ve Rolls-Royce gibi markalar tarafından yol yüzeyini analiz ederek süspansiyon ayarlarını optimize etmek için kullanılıyor. Ancak Hyundai, bu canlı kamera verilerini süspansiyonu ayarlamak yerine, kablosuz şarj indüksiyon pedinin yüksekliğini belirlemek için kullanmayı öneriyor.
Hyundai ayrıca, araçtan diğerlerine (V2X) teknolojisi ile kullanıcıların yol boyunca kablosuz şarj rotalarının nerede bulunduğunu öğrenebileceğini ve böylelikle optimum pil verimliliği için hangi güzergahı seçmeleri gerektiğini belirtebileceğini ifade ediyor.
Dinamik kablosuz şarj teknolojisi, bazı bölgelerde mevcut olsa da genellikle kontrollü ortamlarda ve bakımı kolay yerlerde test ediliyor. Örneğin, Japonya’daki bir üniversite projesinde bu sistemin sadece trafik ışıklarında kullanılmasına yönelik öneriler var. Bu yaklaşım, araç sabitken bağlantı ve şarjın daha kolay sağlanmasına imkan tanıyarak anlamlı bir menzil artışı sağlama potansiyeli taşıyor.

Hyundai’nin patent başvurusu, bu tür test sistemlerini ileri taşıyor. Ancak, bu sistemlerin günlük hayatta yaygınlaşması için daha uzun bir zaman dilimine ihtiyaç duyulacağı unutulmamalıdır. Eğer bu sistemler ileride yeterince yaygın bir şekilde uygulanabilir hale gelirse, elektrikli araçların taşımak zorunda olduğu batarya kapasitesi, dolayısıyla ağırlıkları ve maliyetleri ciddi anlamda azalacak; menzil kaybı yaşanmayacak ve şarj istasyonlarında bekleme zorunluluğu ortadan kalkabilecektir.

 
		 
		 
		 
		 
		 
		 
		 
		 
		 
		